
G型单螺杆泵
技术规范:
产品型号:G型
流量:0.1~200m3/h;
扬程:60m~120mm
功率:0.55~30kw
转速:500~960r/min
口径:25~200mm
输出压力:0.6MPa~1.2MPa
适用温度:15~200℃
工作温度:≤40℃
适用介质:食品、制药、及腐蚀性浆液
产品概述
G型单螺杆泵广泛使用,由于其优良的性能,近年来在国内的应用范围也在迅速扩大。它的特点是对介质的适应性强、流量平稳、压力脉动小、自吸能力高,这是其它任何泵种所不能替代的。我们对国外生产的单螺杆泵及国内同行业的产品,作了分析与研究,博取众长,对自已的产进行不断的改革创新。目前我公司的产品已自成一体系,压力为0.4∽1.2MPa,可满足广大用户对单螺杆泵的不同需求。
型号意义

使用范围
G型单螺杆泵由于该二部件的特殊几何形状,分别形成单独的密封容腔,介质由轴向均匀推行流动,内部流速低,容积保持不变,压力稳定,因而不会产生涡流和搅动。每级泵的输出压力为0.6MPa,扬程60m(清水),自吸高度一般在6m以上。
因定子选用多种弹性材料制成,所以这种泵对高粘度流体的输送和含有硬质悬浮颗粒介质或含有纤维介质的输送,有一般泵种所不能胜任的特性。其流量与转速成正比。
单螺杆泵结构紧凑,体积小,维修简便。对介质的适应性强,流量平稳,压力脉动小,自吸能力高。工作温度可达120℃,如果需输送120℃-350℃高温介质,可定做。广泛用于食品、冶金、造纸、印染、化工、化肥、制药等工业部门。

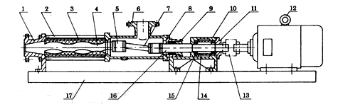
1 出料腔 2 拉杆 3 螺杆胶套 4 螺杆轴 5 万向节总成 6 吸入口体
7 连节轴 8 填料器 9 填料压盖 10 轴承座 11 轴承盖 12 电机
13 连轴器 14 轴套 15 轴承 16 传动主轴 17 底座

性能参数
| 型号 |
流量 (m3/h) |
压力 (Mpa) |
允许 高转数 (r/min) |
电机 功率 (kw) |
必需汽 蚀余量 (m) |
进口法 |
出口法 兰通径 (mm) |
允许颗 粒直径 (mm) |
允许纤 维长度 (mm) |
| G20-1 | 0.8 | 0.6 | 960 | 0.75 | 4 | 25 | 25 | 1.5 | 25 |
| G20-2 | 1.2 | 1.5 | |||||||
| G25-1 | 2 | 0.6 | 960 | 1.5 | 32 | 25 | 2 | 30 | |
| G25-2 | 1.2 | 2.2 | |||||||
| G30-1 | 5 | 0.6 | 960 | 2.2 | 50 | 40 | 2.5 | 35 | |
| G30-2 | 1.2 | 3 | |||||||
| G35-1 | 8 | 0.6 | 960 | 3 | 65 | 50 | 3 | 40 | |
| G35-2 | 1.2 | 4 | |||||||
| G40-1 | 12 | 0.6 | 960 | 4 | 80 | 65 | 3.8 | 45 | |
| G40-2 | 1.2 | 5.5 | |||||||
| G50-1 | 20 | 0.6 | 960 | 5.5 | 4.5 | 100 | 80 | 5 | 50 |
| G50-2 | 1.2 | 7.5 | |||||||
| G60-1 | 30 | 0.6 | 720 | 11 | 5 | 125 | 100 | 6 | 60 |
| G60-2 | 1.2 | 15 | |||||||
| G70-1 | 45 | 0.6 | 720 | 11 | 150 | 125 | 8 | 70 | |
| G70-2 | 1.2 | 18.5 | |||||||
| G85-1 | 65 | 0.6 | 630 | 15 | 150 | 150 | 10 | 80 | |
| G85-2 | 1.2 | 30 | |||||||
| G105-1 | 100 | 0.6 | 500 | 30 | 200 | 200 | 15 | 110 | |
| G105-2 | 1.2 | 55 | |||||||
| G135-1 | 150 | 0.6 | 400 | 45 | 250 | 250 | 20 | 150 | |
| G135-2 | 1.2 | 90 |
单级,由齿轮变速、电磁调速电机加齿轮变速或无级变速电机加齿轮变速时的性能参数
| 型号 | 压力0.3Mpa | 压力0.6Mpa | 可调转数 | ||||||
|
转数 (r/min) |
流量 (m3/h) |
电动机 功率 (kw) |
转数 (r/min) |
流量 (m3/h) |
电动机 功率 (kw) |
转数 (r/min) |
流量 (m3/h) |
电动机 功率 (kw) | |
| G20-1 | 960 | 0.96 | 0.75-6级 | 960 | 0.8 | 0.75-6级 | 125~1250 | 0.1~1.5 | 1.1 |
| 720 | 0.8 | 0.55-8级 | 720 | 0.5 | 0.75-8级 | ||||
| 510 | 0.4 | 0.55-4级/齿轮箱 | 510 | 0.3 | 0.75-4级/齿轮箱 | ||||
| G25-1 | 960 | 2.4 | 0.75-6级 | 960 | 2 | 1.5-6级 | 125~1250 | 0.1~3 | 1.5 |
| 720 | 1.5 | 0.55-8级 | 720 | 1.27 | 1.1-8级 | ||||
| 510 | 1.08 | 0.55-4级/齿轮箱 | 510 | 0.9 | 1.1-4级/齿轮箱 | ||||
| G30-1 | 960 | 3.6 | 1.5-6级 | 960 | 3 | 2.2-6级 | 125~1250 | 0.2~4 | 2.2 |
| 720 | 2.28 | 1.1-8级 | 720 | 1.9 | 1.5-8级 | ||||
| 510 | 1.63 | 1.1-4级/齿轮箱 | 510 | 1.35 | 1.5-4级/齿轮箱 | ||||
| G35-1 | 720 | 4.8 | 2.2-8级 | 720 | 4.04 | 3-8级 | 125~890 | 0.3~5 | 3 |
| 510 | 3.36 | 1.5-4级/齿轮箱 | 510 | 2.8 | 2.2-4级/齿轮箱 | ||||
| 380 | 1.92 | 1.1-4级/齿轮箱 | 380 | 1.60 | 1.5-4级/齿轮箱 | ||||
| G40-1 | 510 | 6.8 | 2.2-4级/齿轮箱 | 510 | 5.6 | 3-4级/齿轮箱 | 125~890 | 0.3~10 | 4 |
| 380 | 5.1 | 1.5-4级/齿轮箱 | 380 | 4 | 2.2-4级/齿轮箱 | ||||
| 252 | 2.65 | 1.1-6级/齿轮箱 | 252 | 2.2 | 1.5-6级/齿轮箱 | ||||
| G50-1 | 510 | 13.8 | 4-4级/齿轮箱 | 510 | 11.5 | 5.5-4级/齿轮箱 | 80~750 | 1~18 | 5.5 |
| 380 | 10.2 | 4-4级/齿轮箱 | 380 | 7.5 | 5.5-4级/齿轮箱 | ||||
| 252 | 5.6 | 3-6级/齿轮箱 | 252 | 4.4 | 5.5-6级/齿轮箱 | ||||
| G60-1 | 510 | 20.8 | 7.5-4级/齿轮箱 | 510 | 16 | 11-4级/齿轮箱 | 63~630 | 1~20 | 11 |
| 380 | 15.6 | 7.5-4级/齿轮箱 | 380 | 12 | 11-4级/齿轮箱 | ||||
| 252 | 7.8 | 5.5-6级/齿轮箱 | 252 | 6 | 7.5-6级/齿轮箱 | ||||
| G70-1 | 510 | 26 | 11-4级/齿轮箱 | 510 | 20 | 11-4级/齿轮箱 | 56~560 | 1~22 | 11 |
| 380 | 17 | 7.5-4级/齿轮箱 | 380 | 13 | 11-4级/齿轮箱 | ||||
| 252 | 9.1 | 7.5-6级/齿轮箱 | 252 | 7 | 7.5-6级/齿轮箱 | ||||
| G85-1 | 380 | 32 | 11-4级/齿轮箱 | 380 | 25 | 15-4级/齿轮箱 | 37~370 | 2~24 | 15 |
| 252 | 21 | 7.5-6级/齿轮箱 | 252 | 16 | 11-6级/齿轮箱 | ||||
| 189 | 11 | 5.5-8级/齿轮箱 | 189 | 8 | 11-8级/齿轮箱 | ||||
| G105-1 | 380 | 80 | 15-4级/齿轮箱 | 380 | 65 | 22-4级/齿轮箱 | 29~290 | 3~50 | 22 |
| 252 | 44 | 15-6级/齿轮箱 | 252 | 34 | 22-6级/齿轮箱 | ||||
| 189 | 29 | 11-8级/齿轮箱 | 189 | 22 | 15-8级/齿轮箱 | ||||
| G135-1 | 380 | 132 | 37-4级/齿轮箱 | 380 | 120 | 45-4级/齿轮箱 | 18~180 | 3~56 | 45 |
| 252 | 95 | 30-6级/齿轮箱 | 252 | 80 | 37-6级/齿轮箱 | ||||
| 189 | 65 | 18.5-6级/齿轮箱 | 189 | 53 | 30-8级/齿轮箱 | ||||
双级,由齿轮变速、电磁调速电机加齿轮变速或无级变速电机加齿轮变速时的性能参数
| 型号 | 压力0.8Mpa | 压力1.2Mpa | 可调转数 | ||||||
|
转数 (r/min) |
流量 (m3/h) |
电动机 功率 (kw) |
转数 (r/min) |
流量 (m3/h) |
电动机 功率 (kw) |
转数 (r/min) |
流量 (m3/h) |
电动机 功率 (kw) | |
| G20-2 | 960 | 0.96 | 1.5-6级 | 960 | 0.8 | 1.5-6级 | 125~1250 | 0.1~1.5 | 1.5 |
| 720 | 0.8 | 1.1-8级 | 720 | 0.5 | 1.5-8级 | ||||
| 510 | 0.4 | 1.1-4级/齿轮箱 | 510 | 0.3 | 1.1-4级/齿轮箱 | ||||
| G25-2 | 960 | 2.4 | 1.5-6级 | 960 | 2 | 2.2-6级 | 125~1250 | 0.1~3 | 2.2 |
| 720 | 1.5 | 1.1-8级 | 720 | 1.27 | 1.5-8级 | ||||
| 510 | 1.08 | 1.1-4级/齿轮箱 | 510 | 0.9 | 1.5-4级/齿轮箱 | ||||
| G30-2 | 960 | 3.6 | 3-6级 | 960 | 3 | 3-6级 | 125~1250 | 0.2~4 | 3 |
| 720 | 2.28 | 1.5-8级 | 720 | 1.9 | 2.2-8级 | ||||
| 510 | 1.63 | 1.5-4级/齿轮箱 | 510 | 1.35 | 2.2-4级/齿轮箱 | ||||
| G35-2 | 720 | 4.8 | 3-8级 | 720 | 4.04 | 4-8级 | 125~890 | 0.3~5 | 4 |
| 510 | 3.36 | 2.2-4级/齿轮箱 | 510 | 2.8 | 3-4级/齿轮箱 | ||||
| 380 | 1.92 | 1.5-4级/齿轮箱 | 380 | 1.60 | 2.2-4级/齿轮箱 | ||||
| G40-2 | 510 | 6.8 | 4-4级/齿轮箱 | 510 | 5.6 | 5.5-4级/齿轮箱 | 125~890 | 0.3~10 | 5.5 |
| 380 | 5.1 | 3-4级/齿轮箱 | 380 | 4 | 4-4级/齿轮箱 | ||||
| 252 | 2.65 | 2.2-6级/齿轮箱 | 252 | 2.2 | 3-6级/齿轮箱 | ||||
| G50-2 | 510 | 13.8 | 5.5-4级/齿轮箱 | 510 | 11.5 | 7.5-4级/齿轮箱 | 80~750 | 1~18 | 7.5 |
| 380 | 10.2 | 4-4级/齿轮箱 | 380 | 7.5 | 5.5-4级/齿轮箱 | ||||
| 252 | 5.6 | 3-6级/齿轮箱 | 252 | 4.4 | 5.5-6级/齿轮箱 | ||||
| G60-2 | 510 | 20.8 | 15-4级/齿轮箱 | 510 | 16 | 15-4级/齿轮箱 | 63~630 | 1~20 | 15 |
| 380 | 15.6 | 11-4级/齿轮箱 | 380 | 12 | 15-4级/齿轮箱 | ||||
| 252 | 7.8 | 7.5-6级/齿轮箱 | 252 | 6 | 11-6级/齿轮箱 | ||||
| G70-2 | 510 | 26 | 15-4级/齿轮箱 | 510 | 20 | 18.5-4级/齿轮箱 | 56~560 | 1~22 | 18.5 |
| 380 | 17 | 11-4级/齿轮箱 | 380 | 13 | 15-4级/齿轮箱 | ||||
| 252 | 9.1 | 11-6级/齿轮箱 | 252 | 7 | 11-6级/齿轮箱 | ||||
| G85-2 | 380 | 32 | 18.5-4级/齿轮箱 | 380 | 25 | 22-4级/齿轮箱 | 37~370 | 2~24 | 22 |
| 252 | 21 | 15-6级/齿轮箱 | 252 | 16 | 18.5-6级/齿轮箱 | ||||
| 189 | 11 | 15-8级/齿轮箱 | 189 | 8 | 15-8级/齿轮箱 | ||||
| G105-2 | 380 | 80 | 30-4级/齿轮箱 | 380 | 65 | 37-4级/齿轮箱 | 29~290 | 3~50 | 37 |
| 252 | 44 | 30-6级/齿轮箱 | 252 | 34 | 30-6级/齿轮箱 | ||||
| 189 | 29 | 22-8级/齿轮箱 | 189 | 22 | 22-8级/齿轮箱 | ||||
| G135-2 | 380 | 132 | 55-4级/齿轮箱 | 380 | 120 | 75-4级/齿轮箱 | 18~180 | 3~56 | 75 |
| 252 | 95 | 55-6级/齿轮箱 | 252 | 80 | 75-6级/齿轮箱 | ||||
| 189 | 65 | 37-8级/齿轮箱 | 189 | 53 | 45-8级/齿轮箱 | ||||
单、双级水煤浆工作泵的性能参数
| 泵 型 |
流量 (m3/h) | 工作压力(Mpa) | 转数(r/min) | 齿轮减速配套调速电机(kw) |
| G30-2 | ~1 | 1.2 | 30~300 | YCT160/4A-2.2 |
| G35-2 | ~2 | 1.2 | 30~300 | YCT160/4A-2.2 |
| G40-2 | ~3 | 1.2 | 30~280 | YCT160/4A-3 |
| G50-1 | ~4.5 | 0.6 | 28~280 | YCT180/4A-4 |
| G50-2 | ~4.5 | 1.2 | 28~280 | YCT200/4A-5.5 |
| G60-1 | ~6.5 | 0.6 | 25~250 | YCT200/4A-5.5 |
| G60-2 | ~6.5 | 1.2 | 25~250 | YCT200/4B-7.5 |
| G70-1 | ~8 | 0.6 | 25~250 | YCT200/4B-7.5 |
| G85-1 | ~12.5 | 0.6 | 18~180 | YCT225/4A-11 |
| G105-1 | ~20 | 0.6 | 14~140 | YCT225/4B-15 |
| G135-1 | ~35 | 0.6 | 10~100 | YCT250/4B-22 |
说明:
1、以上性能参数是常温清水试验时的试验数据;
2、对于不同的介质、不同的转速,性能参数都将变化,其流量值与浓度、粘度成反比,与转速成正比;
3、用户必须根据使用要求、输送介质的状况、选型原则选择泵的类型,或者和本公司技术部门协商来决定泵的类型。
4、对于水煤浆泵传动形式为齿轮调速配套电磁调速电机或机械无级变速电机,流量随转速变化无级可调。
螺杆泵与其他泵类的优势比较
1、与离心泵相比螺杆泵无需安装阀门,流量是稳定的线性流动;
2、与柱塞泵相比螺杆泵具有自吸能力强、吸入高度强;
3、与隔膜泵相比螺杆泵可输送各种混合杂质含有气体及固体颗粒或纤维的介质,也可输送各种腐蚀性物质;
4、与齿轮油泵相比,螺杆泵可输送高粘度的物质;
5、与柱塞泵,隔膜泵及齿轮泵不同的是,螺杆泵可用于药剂填充和计量。
上一个:没有了!
下一个:没有了!